Центробежные вентиляторы Вентс ВЦУН одностороннего всасывания в спиральном поворотном корпусе скрыльчаткой, установленной на оси серийного трехфазного асинхронного двигателя. Производительность - до 19 000 м3/ч.
Применение
Приточно-вытяжные системы вентиляции помещений различного назначения. Вентиляторы могут использоваться как комплектующие элементы к вентиляционным установкам и установкам кондиционирования воздуха. Допускается наружный монтаж.
Конструкция
Корпус вентилятора изготовлен из стали с полимерным покрытием. Вентилятор ВЦУН может быть исполнен как с направлением вращения рабочего колеса вправо, так и влево. В каждом из вариантов есть несколько положений корпуса, что делает возможным присоединение к воздуховоду под любым углом с шагом в 45°.
Двигатель
Используются двух- и четырехполюсные однофазные асинхронные двигатели с внешним ротором, рабочее колесо которых изготовлено из оцинокованной стали и имеет вперёд загнутые лопатки. Применение в двигателях подшипников качения обеспечивает большой срок эксплуатации. Для достижения точных характеристик, низкого уровня шума и безопасной работы вентилятора каждая турбина при сборке проходит динамическую балансировку. Двигатель в вентиляторе имеет класс защиты IP 54.
Регулировка скорости
Регулировка скорости вентилятора может осуществляться с помощью автотрансформаторного регулятора. К одному регулирующему устройству могут подключаться сразу несколько вентиляторов, при условии что общая мощность и рабочий ток не будут превышать номинальные параметры регулятора.
Монтаж
Может устанавливаться как в вентиляционных камерах и установках для кондиционирования, так и отдельно. В последнем случае может подсоединяться к воздуховодам как двумя патрубками (выхлопным и всасывающим), так и одним выхлопным. Выхлопной и всасывающий патрубки имеют прямоугольное и круглое сечение соответственно. Подача питания осуществляется через наружные клеммы.
Технические характеристики

Цены на вентиляторы серии ВЦУН
| Наименование | Цена |
| ВЦУН 140х74 -0,25-4 ПР | 10442 |
| ВЦУН 140х74 -0,37-2 ПР | 10924 |
| ВЦУН 160х74 -0,55-4 ПР | 11728 |
| ВЦУН 160х74 -0,75-2 ПР | 12851 |
| ВЦУН 180х74 -0,55-4 ПР | 11728 |
| ВЦУН 180х74 -1,1-2 ПР | 12851 |
| ВЦУН 200х93 -0,55-4 ПР | 12530 |
| ВЦУН 200х93 -1,1-2 ПР | 13813 |
| ВЦУН 225х103 -1,1-4 ПР | 16868 |
| ВЦУН 225х103 -2,2-2 ПР | 17990 |
| ВЦУН 240х114 -2,2-4 ПР | 22808 |
| ВЦУН 240х114 -3,0-2 ПР | 22808 |
| ВЦУН 250х127 -1,5-6 ПР | 22971 |
| ВЦУН 250х127 -2,2-4 ПР | 22971 |
| ВЦУН 250х127 -5,5-2 ПР | 28913 |
| ВЦУН 280х127 -1,5-6 ПР | 27306 |
| ВЦУН 280х127 -2,2-4 ПР | 27306 |
| ВЦУН 280х127 -5,5-2 ПР | 30517 |
| ВЦУН 315х143 -2,2-6 ПР | 33729 |
| ВЦУН 315х143 -4,0-4 ПР | 35337 |
| ВЦУН 355х143 -2,2-6 ПР | 37746 |
| ВЦУН 355х143 -4,0-4 ПР | 39352 |
| ВЦУН 400х183 -1,5-8 ПР | 44171 |
| ВЦУН 400х183 -2,2-6 ПР | 42564 |
| ВЦУН 400х183 -5,5-4 ПР | 52201 |
| ВЦУН 450х203 -11,0-4 ПР | 61033 |
| ВЦУН 450х203 -3,0-8 ПР | 51396 |
| ВЦУН 450х203 -4,0-6 ПР | 53003 |
| ВЦУН 500х229 -11,0-4 ПР | 72276 |
| ВЦУН 500х229 -5,5-8 ПР | 69064 |
| ВЦУН 500х229 -7,5-6 ПР | 71473 |
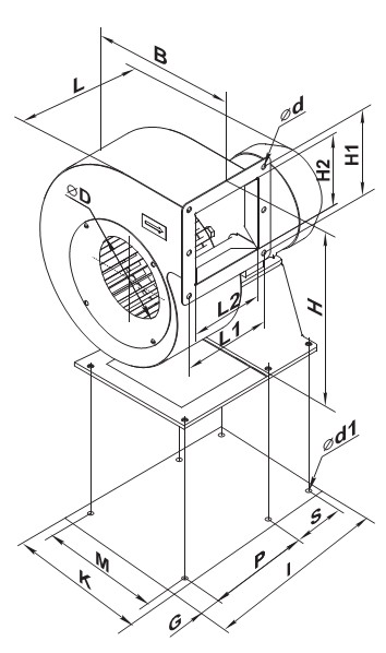
Габаритные размеры и чертеж


Аэродинамические характеристики вентиляторов





